
237
D
7
-°0
Rr-i t/PBy-PBo
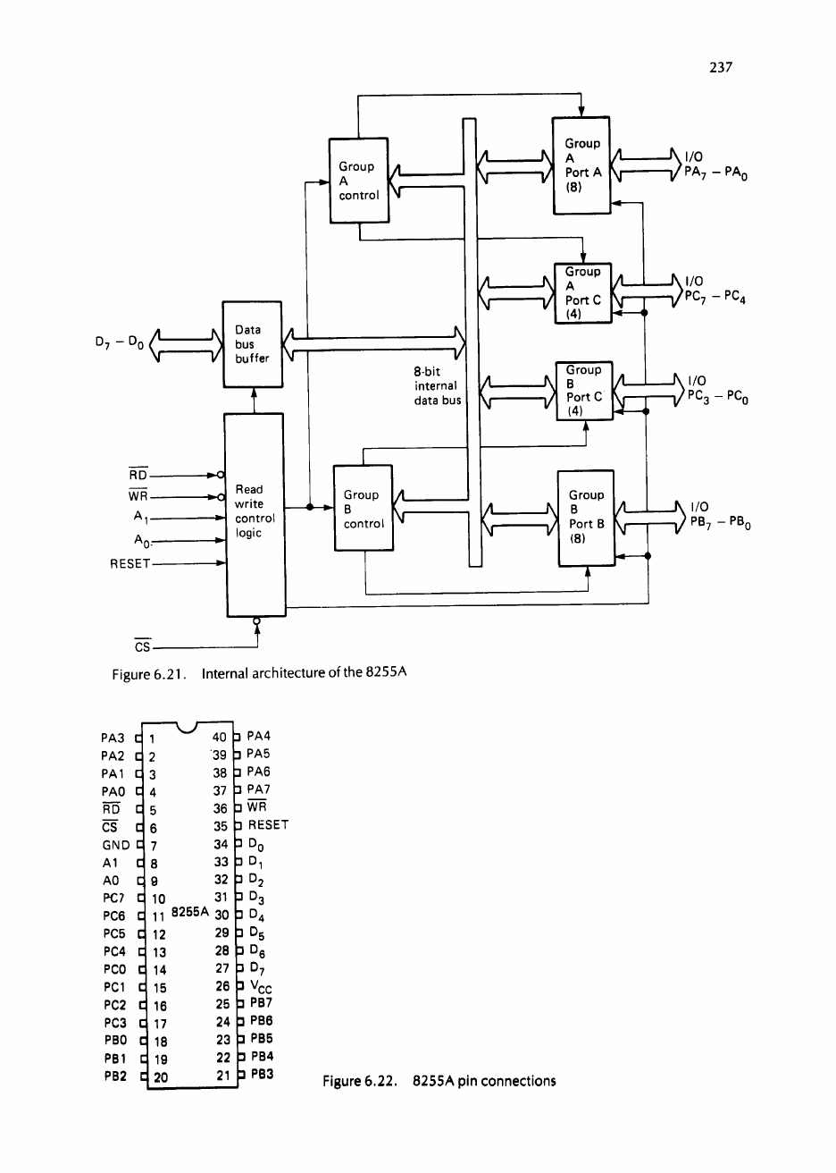
Figure
6.21.
Internal architecture of the 8255A
PA3 d
PA2 d
PA1 □
PAO d
RD d
es
d
GND d
Al C
AO C
PC7 C
PC6 C
PC5 C
PC4 C
PCO C
PC1 C
PC2 C
PC3 C
PBO C
PB1 C
PB2 C
1
2
3
4
5
6
7
8
Θ
10
11
12
13
I
14
15
16
17
18
1
19
J20
w
40
39
38
37
36
35
34
33
32
31
3255A 30
29
28
27
26
25
24
23
22
21
D PA4
D PA5
Ώ
ΡΑ6
2 PA7
3 WR
3 RESET
3D
0
3D,
DD
2 ...